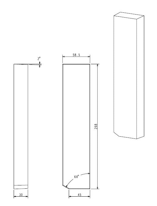
BARBAS - 312901 ECO 500 Din+ pierre fond gauche
BARBAS - 312901 ECO 500 Din + pierre fond gauche
1 pièce - compatible pour mettre dans le fond à côté gauche
Délai: 1 semaine
1 pièce - compatible pour mettre dans le fond à côté gauche
Délai: 1 semaine